深度剖析恒源PF反击式破碎机工作原理及结构特征
反击式破碎机工作原理:
反击式破碎机是一种利用冲击能来破碎的破碎机械。当物料进入板锤作用区时,受到板锤的高速冲击而破碎,并被抛向安装在转子上方的反击装置上再次破碎,然后又从反击衬板上弹回到板锤作用区重新破碎。此过程重复进行,直到物料被破碎至所需粒度,由机器下部排出为止。调整反击架与板锤之间的间隙可达到改变物料出料粒度和物料形状的目的。
反击式破碎机是一种利用冲击能来破碎的破碎机械。当物料进入板锤作用区时,受到板锤的高速冲击而破碎,并被抛向安装在转子上方的反击装置上再次破碎,然后又从反击衬板上弹回到板锤作用区重新破碎。此过程重复进行,直到物料被破碎至所需粒度,由机器下部排出为止。调整反击架与板锤之间的间隙可达到改变物料出料粒度和物料形状的目的。

本机在后架上采用自重式保险装置,当非破碎物料进入破碎腔后,前后反击架后退,非破碎物料从机内排出。
反击破结构和特征:
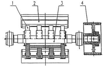
如下图1所示,反击式破碎机主要由转子、反击架、机架、棘轮翻盖(液压翻盖)和传动部分等零部件组成。

1、转子 2、反击架 3、机架
图1 反击破碎机结构图
转子部分
转子体是本机心脏部分(见下图2)。转子架采用钢板焊接而成,板锤被固定在正确的位置,轴向限位装置能有效的防止板锤窜动。
板锤采用高耐磨材料制成。整个转子具有良好的动静平衡和耐冲击性。
机架
机架是由三部分坚固、抗扭的箱形焊接结构组成,彼此用高强度螺栓连接。为保证安全可靠地更换易损件,铰接式机架盖可用机械装置或液压装置打开。建议用户在机架上方设置起吊装置,这将帮助你更为快捷地打开上机架以更换易损件或检测设备。机架两侧均设有检测门。
反击架
本机装有前、后二个反击架,均采用自重式悬挂结构。每一反击架被单独地支承在破碎机机架上。破碎机工作时,反击架由自重保持其正常工作位置;过铁时,反击架迅速抬起,异物排除后,又重新返回原处。反击架与转子之间的间隙可通过悬挂螺栓进行调整。反击衬板用高强度螺栓固定在反击架上。反击衬板可以从磨损较大的地方更换到磨损较小的地方。

1、转子架 2、板锤 3、轴 4、槽轮
图2 转子部件图
传动部分
传动采用三角皮带传动。与主轴配合的槽轮采用胀套联接,便于装拆。转子的速度可通过更换电机槽轮来调整。

反击式破碎机出厂图

反击破工程现场案例图
反击式破碎机生产线视频:
点击观看 【颚破+反击破】生产线视频
反击破厂家简介:
上海恒源冶金设备有限公司自成立以来,一直专注于砂石生产线设备的研发、生产与销售,公司主营产品主要有破碎、制砂、磨粉、输送筛分设备及配套备件等。位于江苏启东滨海工业园区的六万平米大型矿机生产基地,具备先进的数控加工设备和产品质检检测仪器,设备精度高、速度快,具有很强的生产能力,欢迎广大客户前来实地工厂考察和咨询,期待与您携手共赢!
采购联络方式:
国内销售:021-58973788
国际销售:021-33781259
全国服务热线:400-820-2021
欢迎新老客户致电,预约参观,我们将为您提供完善的碎石、制砂生产线成套设备解决方案,让专业的人做专业的事,让您我一起携手,共赢未来!
往期恒源微信公众号内容链接回顾:
产品系列
Phoenix【砂石生产线设备】产品大全,收藏备用!
生产线案例
发货系列
10-07 福建砂石生产线发货回顾
09-28 湖南砂石生产线发货回顾
09-28 吉林砂石生产线发货回顾
09-23 广西砂石生产线发货回顾
09-18 湖南砂石生产线发货回顾
本公司一直坚信好的资源和信息需要分享,本文暨上海恒源冶金设备有限公司官方网站的原创发布,转载请注明出处!
技术文章
返回首页
圆锥破碎机产能低,不挣钱?11个方法让你的圆锥破产能最大化
2019-09-11
分析清楚制砂机突然停机的原因,自己也可以维修
2019-09-06
颚式破碎机组装动画
2023-03-01
如果你选择了正确的洗沙设备,你只需花更少的钱去做更有效率的工作!你选对了吗?
2019-08-25
时产500t石灰石破碎生产线筹建试运行
2020-09-03
山碎牌颚式破碎机紧跟国际脚步,质量保证,信
2019-05-10
石英岩开采加工全流程深度解析:从地质勘察到提纯工艺全攻略(附行业优化建议)
2025-08-18
矿山设备安全知识小结
2019-05-10
出口安哥拉破碎设备发货实况回顾
2019-05-12
半干法制砂生产线如何设计方案?生产设备挑选及7大设计关键点详细介绍!
2019-11-18
严厉打击并依法查处非法开采矿产资源的行为,藤县太平镇对2处非法采石场开展打击取缔行
2019-07-30
正常情况下反击式破碎机轴承温度问题
2019-05-10
破碎设备厂家在发展潮流中逆势而上
2019-05-10
【机制砂天然砂】既环保又便宜,隧道里挖出来的石渣是“宝”
2019-08-08
【露天矿开采】简单普及一下露天矿开采滑坡的类型、预防及治理,一定要记牢!
2019-10-08
硬质岩破碎很发愁?从原料到成品,看花岗岩的
2019-06-25
大型物料圆锥式破碎机卡材料现象如何解决?
2020-09-30
怎么降低碎石、矿石、制砂生产线成本,提高生产效率?
2019-12-05
绿色矿山建设实质性突破进入冲刺阶段
2019-06-12
时产1000吨石子生产线高效配置方案
2024-12-29






